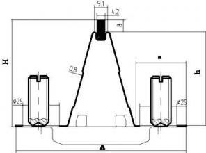
Направляющие рельс-формы В65 для устройства бетонных полов В комплект входят:
- Рельс-форма (стандартная длина 3 метра);
- Планка жесткости (металлическая прокладка) - 4 шт.;
- Регулировочный пластиковый винт - 8 шт.;
В настоящее время производится пять типов рельс-форм: В-16, В-25, В-45, В-65 и В-85.
Способ упаковки:
упакованы по 15 шт , профиль 3 м длиной, в упаковке 45 п.м.
 
Денис Васильчук г. Санкт-Петербург тел.: +7 906 227 8282 e-mail:
Объявление подано: 12.10.2016 Просмотров - 542 Номер: 950593
|